X
-
Załączniki bezpieczeństwa
Załczniki do produktuZałączniki dotyczące bezpieczeństwa produktu zawierają informacje o opakowaniu produktu i mogą dostarczać kluczowych informacji dotyczących bezpieczeństwa konkretnego produktu
-
Informacje o producencie
Informacje o producencieInformacje dotyczące produktu obejmują adres i powiązane dane producenta produktu.Deante
-
Osoba odpowiedzialna w UE
Osoba odpowiedzialna w UEPodmiot gospodarczy z siedzibą w UE zapewniający zgodność produktu z wymaganymi przepisami.
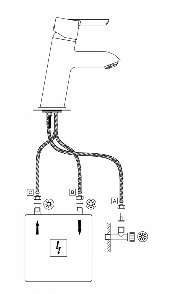
Bateria umywalkowa niskociśnieniowa trójdrożna - do podgrzewacza
- Wykończenie: chrom
- Rodzaj baterii: do podgrzewaczy
- Sposób montażu: stojący
- Korpus baterii wykonany z najwyższej jakości mosiądzu
- Bateria wyposażona w aerator napowietrzający strumień
- Bateria przeznaczona do podgrzewacza wody
- Tylko najlepsze materiały, których jakość potwierdzamy badaniami w laboratorium
- W komplecie 3 szt wężyków 50 cm, M8x3/8"
Bateria przeznaczona do podgrzewacza wody
Bateria została zaprojektowana z myślą o miejscach, w których brak jest standardowego dostępu do ciepłej wody, takich jak np. domki działkowe, górskie chaty, czy letnie kuchnie ogrodowe. Trójdrożną baterię wystarczy podłączyć do niskociśnieniowego podgrzewacza zainstalowanego pod blatem. Takie rozwiązanie pozwala na uzyskanie dostępu do ciepłej wody, przy jednoczesnym utrzymaniu ładnego wyglądu kuchni.
| BATERIA | |
|---|---|
| Wykończenie | chrom |
| Rodzaj baterii | do podgrzewaczy |
| Sposób montażu | stojący |
| Klasa przepływu [l/min] | A - 9.1-15 l/min |
| Grupa akustyczna [dB] | II (20 < x ≤ 30) |
| GŁOWICA DO BATERII | |
|---|---|
| Rozmiar głowicy ceramicznej | 35 mm |
| AERATORY | |
|---|---|
| Rozmiar aeratora | M24 |
| WĘŻYKI PRZYŁĄCZENIOWE | |
|---|---|
| Długość [mm] | 500 |
| Gwint od instalacji | 3/8'' |
| Gwint przyłącza | M8 |
